宝塔双11特惠活动,企业版2299元/3年,SSL证书低至9.9元!查看活动
当前位置:论坛首页 > Linux面板 > 求助

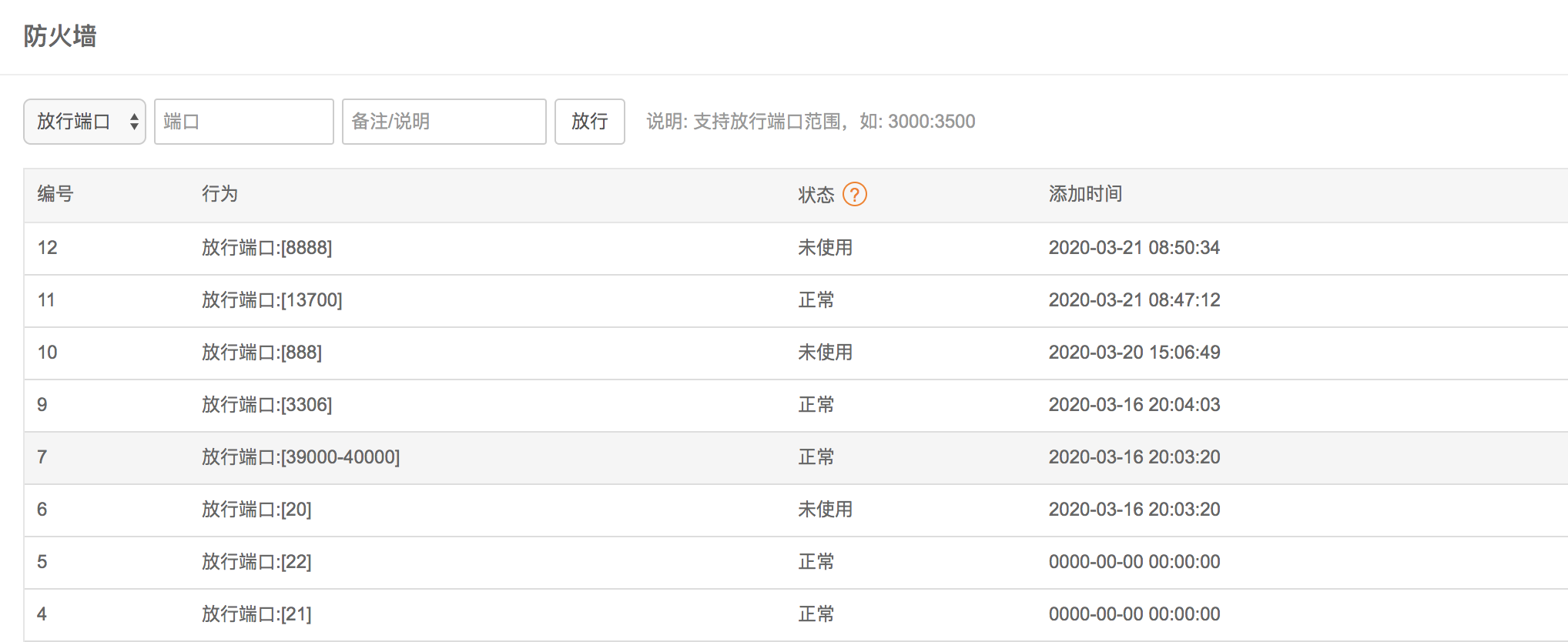
【已回应】phpmyadmin无法防伪,888端口未使用

发表在 Linux面板2020-3-21 09:31 [复制链接] 8 2400

本帖最后由 谢花郎 于 2020-3-21 09:32 编辑

华为云888端口已经放开

华为云888端口已经放开

宝塔888未使用

宝塔888未使用

使用道具 举报 只看该作者 回复
发表于 2020-3-21 09:32:14 | 显示全部楼层
phpmyadmin启动正常嘛?
使用道具 举报 回复 支持 反对
发表于 2020-3-21 09:35:29 | 显示全部楼层
phpmyadmin显示状态为:开启
使用道具 举报 回复 支持 反对
发表于 2020-3-21 09:36:29 | 显示全部楼层
谢花郎 发表于 2020-3-21 09:32
phpmyadmin启动正常嘛?

phpmyadmin显示状态为:开启
使用道具 举报 回复 支持 反对
发表于 2020-3-21 09:39:39 | 显示全部楼层
使用道具 举报 回复 支持 反对
发表于 2020-3-21 09:51:11 | 显示全部楼层

telnet 888端口看看能不能通,不行的话私信发一下面板登录信息和ssh,帮您看看。
使用道具 举报 回复 支持 反对
发表于 2020-3-21 09:53:42 | 显示全部楼层
谢花郎 发表于 2020-3-21 09:51
telnet 888端口看看能不能通,不行的话私信发一下面板登录信息和ssh,帮您看看。 ...

好的,谢谢了
使用道具 举报 回复 支持 反对
发表于 2020-3-21 10:29:39 | 显示全部楼层

可以了,你现在访问试试。重启了一下nginx就好了
使用道具 举报 回复 支持 反对
发表于 2020-3-21 10:42:48 | 显示全部楼层
谢花郎 发表于 2020-3-21 10:29
可以了,你现在访问试试。重启了一下nginx就好了

好的,已经好了,谢谢啦
使用道具 举报 回复 支持 反对
您需要登录后才可以回帖 登录 | 立即注册

本版积分规则

普通问题处理

论坛响应时间:72小时

问题处理方式:排队(仅解答)

工作时间:白班:9:00 - 18:00

紧急运维服务

响应时间:3分钟

问题处理方式:宝塔专家1对1服务

工作时间:工作日:9:00 - 18:30

宝塔专业团队为您解决服务器疑难问题

点击联系技术免费分析

工作时间:09:00至18:30

快速回复 返回顶部 返回列表