当前位置:论坛首页 > Linux面板 > 求助

【已解答】Nginx防火墙 IP归属地不显示

发表在 Linux面板2023-10-13 19:08 [复制链接] 3 6123

为了能快速了解并处理您的问题,请提供以下基础信息:
面板、插件版本:
面板 8.0.3  Nginx防火墙 9.2.1

  系统版本:CentOS 7.6.1810 x86_64(Py3.7.9)

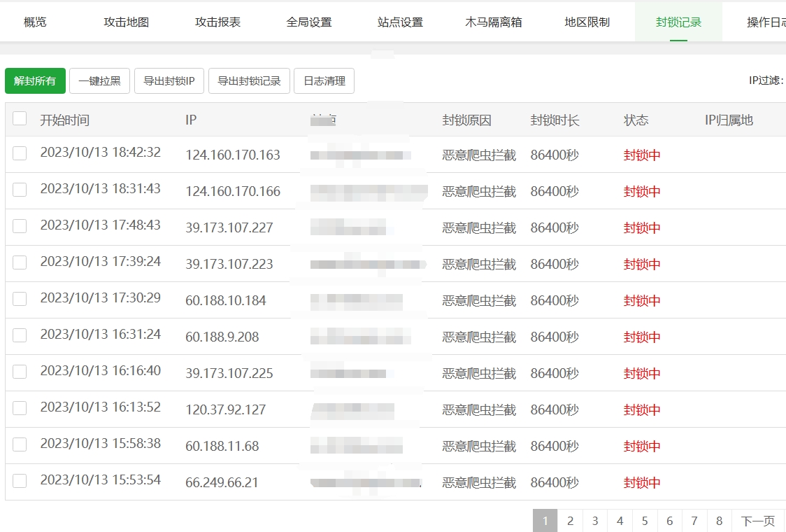
问题描述:WAF防火墙 拦截记录看不到IP归属地,升级面板,修复插件都无效

相关截图(日志、错误): 微信截图_20231013190710.png

使用道具 举报 只看该作者 回复
发表于 2023-10-13 23:41:46 | 显示全部楼层
您好,这个可能需要开发协助处理下,您工作日的时间扫描下方二维码联系这边客服协助处理下
WX20231013-234127.png
使用道具 举报 回复 支持 反对
发表于 2023-10-25 20:35:34 | 显示全部楼层
有无修复脚本
使用道具 举报 回复 支持 反对
发表于 2023-10-26 10:16:35 | 显示全部楼层

客服微信.png
您好,扫码联系下客服,就说论坛上大炮让联系解决waf防火墙不显示IP归属地的问题。我这里测试了下我的面板,显示正常的
waf不显示归属地.png
使用道具 举报 回复 支持 反对
您需要登录后才可以回帖 登录 | 立即注册

本版积分规则

紧急运维服务

响应时间:3分钟

问题处理方式:宝塔专家1对1服务

工作时间:工作日:9:00 - 18:30

宝塔专业团队为您解决服务器疑难问题

点击联系技术分析

工作时间:09:00至18:30

快速回复 返回顶部 返回列表