宝塔10周年开年大促,年度钜惠,先领红包再下单,企业版低至941元!查看活动
当前位置:论坛首页 > Linux面板 > 求助

【待反馈】防火墙地区拦截无效??

发表在 Linux面板2025-11-2 08:33 [复制链接] 5 876

为了能快速了解并处理您的问题,请提供以下基础信息:
面板、插件版本:  V11.1

系统版本:CentOS 7

  
问题描述: 我的一个网站,每天好几万IP访问,其实没有这么多,发现都是广东某些地区访问量,这些地区关注我的网站的人微乎期微。
所以我加了防火墙 地区拦截,但是从地区上看,从拦截历史上看,都没有体现出来。是不是地区拦截无效??

相关截图(日志、错误):
拦截.png
history.png
area.png



使用道具 举报 只看该作者 回复
发表于 2025-11-3 11:13:15 | 显示全部楼层
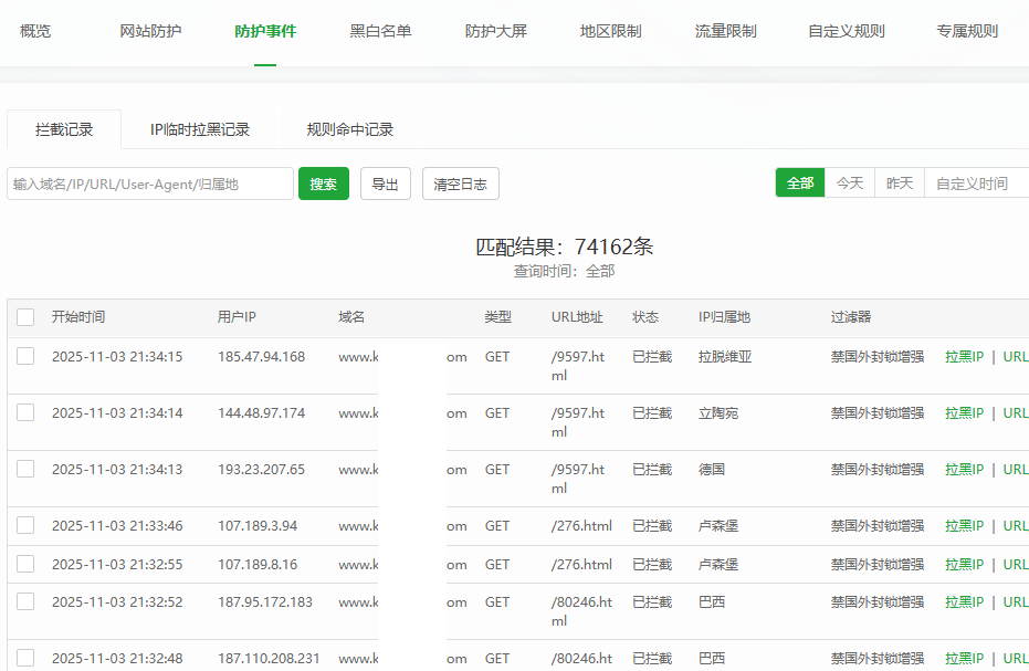
在左边栏的waf---防护事件里面看看,拦截记录,规则命中记录这些 aa.png
使用道具 举报 回复 支持 反对
发表于 2025-11-3 13:08:10 | 显示全部楼层
楼主  我也是碰到了  广东的 大量IP 访问网站, 烦死了, 和ddos攻击没区别
使用道具 举报 回复 支持 反对
发表于 2025-11-3 21:38:36 | 显示全部楼层
阿珂 发表于 2025-11-3 11:13
在左边栏的waf---防护事件里面看看,拦截记录,规则命中记录这些



WAF里面,都只有禁国外的IP,没有一个限地区的IP。

网站日志里面,倒是有限地区的IP,但是这也算访问了吧。

网站每天大几万IP,资源都被拖完了,限地区为什么不起作用呢?

另外除限地区外,还有其它什么方法可以限制访问吗。


waf.png

area.png
使用道具 举报 回复 支持 反对
发表于 2025-11-3 21:39:12 | 显示全部楼层
a285990 发表于 2025-11-3 13:08
楼主  我也是碰到了  广东的 大量IP 访问网站, 烦死了, 和ddos攻击没区别

是的,我这几乎都是广东的IP,99%无效IP。
使用道具 举报 回复 支持 反对
发表于 2025-11-5 21:46:44 | 显示全部楼层
阿珂 发表于 2025-11-3 11:13
在左边栏的waf---防护事件里面看看,拦截记录,规则命中记录这些

地区防护还是无效的。只有禁国外防护。
使用道具 举报 回复 支持 反对
您需要登录后才可以回帖 登录 | 立即注册

本版积分规则

紧急运维服务

响应时间:3分钟

问题处理方式:宝塔专家1对1服务

工作时间:工作日:9:00 - 18:30

宝塔专业团队为您解决服务器疑难问题

点击联系技术分析

工作时间:09:00至18:30

快速回复 返回顶部 返回列表