当前位置:论坛首页 > Linux面板 > 讨论

Ngnix防火墙拦截搜索引擎?

发表在 Linux面板2026-1-21 16:32 [复制链接] 0 82

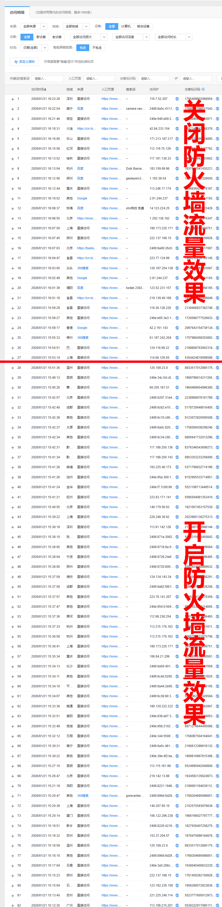
网站运行四五年了,一直裸奔,负载经常飙升100%,启用Ngnix防火墙负载正常,但搜索流量急剧下降。防火墙已更新到最新版本,使用默认标准模式,除了“禁国外访问”其他未作任何设置。实时观察网站统计流量来源发现,关闭防火墙,搜索流量就能恢复正常。而且,网站有付费下载内容,但用户扫码支付成功后不跳转。同样,关闭防火墙就能恢复正常!不知道是哪里出了问题?有没有遇到同样问题的朋友?
统计.png
使用道具 举报 只看该作者 回复
您需要登录后才可以回帖 登录 | 立即注册

本版积分规则

普通问题处理

论坛响应时间:72小时

问题处理方式:排队(仅解答)

工作时间:白班:9:00 - 18:00

紧急运维服务

响应时间:3分钟

问题处理方式:宝塔专家1对1服务

工作时间:工作日:9:00 - 18:30

宝塔专业团队为您解决服务器疑难问题

点击联系技术分析

工作时间:09:00至18:30

快速回复 返回顶部 返回列表