当前位置:论坛首页 > Linux面板 > 求助

【待反馈】安装软件一直报错

发表在 Linux面板3 天前 [复制链接] 1 58

为了能快速了解并处理您的问题,请提供以下基础信息:
面板、插件版本:11.5.0

系统版本:CentOS 7.9.2009 x86_64(Py3.7.9)

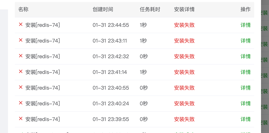
问题描述:安装插件和软件一直报错无法安装

相关截图(日志、错误):

微信图片_20260131234515_1686_7.png 微信图片_20260131235414_14_197.png
使用道具 举报 只看该作者 回复
发表于 前天 17:34 | 显示全部楼层
您好,您到设置中,切换下安装节点试试呢?换一个离您服务器比较近的节点 下载节点切换.png 如果还不行,请执行下面命令,看下是不是指定过hosts
  1. cat /etc/hosts
复制代码


使用道具 举报 回复 支持 反对
您需要登录后才可以回帖 登录 | 立即注册

本版积分规则

普通问题处理

论坛响应时间:72小时

问题处理方式:排队(仅解答)

工作时间:白班:9:00 - 18:00

紧急运维服务

响应时间:3分钟

问题处理方式:宝塔专家1对1服务

工作时间:工作日:9:00 - 18:30

宝塔专业团队为您解决服务器疑难问题

点击联系技术分析

工作时间:09:00至18:30

快速回复 返回顶部 返回列表