宝塔10周年开年大促,年度钜惠,先领红包再下单,企业版低至941元!查看活动
当前位置:论坛首页 > BUG提交 > Linux面板

【待反馈】nginx防火墙蜘蛛bug问题

发表在 BUG提交2026-2-25 14:07 [复制链接] 3 250

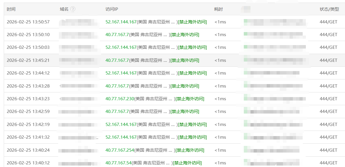
nginx防火墙开启了禁止国外访问,bing蜘蛛部分也被禁止了,查看蜘蛛池内都有该段IP,仍然被禁止了
ScreenShot_2026-02-25_140151_971.png
看图片,理论来说蜘蛛池内的IP访问时不会触发拦截规则




使用道具 举报 只看该作者 回复
发表于 2026-2-27 18:19:50 | 显示全部楼层
您好,您看下能访问的bingIP是国内的还是国外的?当前IP库中的IP准确率大概是95%左右。
使用道具 举报 回复 支持 反对
发表于 2026-2-27 21:16:55 | 显示全部楼层
能访问的国内国外都有,不能访问的有国外的,但我看waf防火墙 蜘蛛池里 有这个段的蜘蛛,简单来说就是开启了禁止国外后,蜘蛛池里的有些国外ip 也会被waf禁止访问
使用道具 举报 回复 支持 反对
发表于 2026-3-2 08:30:43 | 显示全部楼层
防火墙误拦截 蜘蛛池内的部分国外蜘蛛
使用道具 举报 回复 支持 反对
您需要登录后才可以回帖 登录 | 立即注册

本版积分规则

紧急运维服务

响应时间:3分钟

问题处理方式:宝塔专家1对1服务

工作时间:工作日:9:00 - 18:30

宝塔专业团队为您解决服务器疑难问题

点击联系技术分析

工作时间:09:00至18:30

快速回复 返回顶部 返回列表