当前位置:论坛首页 > Linux面板 > 求助

【待反馈】面板升级后计划任务就不自动执行了

发表在 Linux面板7 小时前 [复制链接] 3 29

自从面板升级最新版本后,“计划任务”就不自动执行了
958.png
使用道具 举报 只看该作者 回复
发表于 7 小时前 | 显示全部楼层
您好,由于不知您的操作系统,可以根据下面命令进行操作
Debian/Ubuntu
  1. systemctl status cron
复制代码

RedHat/CentOS
  1. systemctl status crond
复制代码

把执行截图发出来看下

使用道具 举报 回复 支持 反对
发表于 6 小时前 | 显示全部楼层
67.png


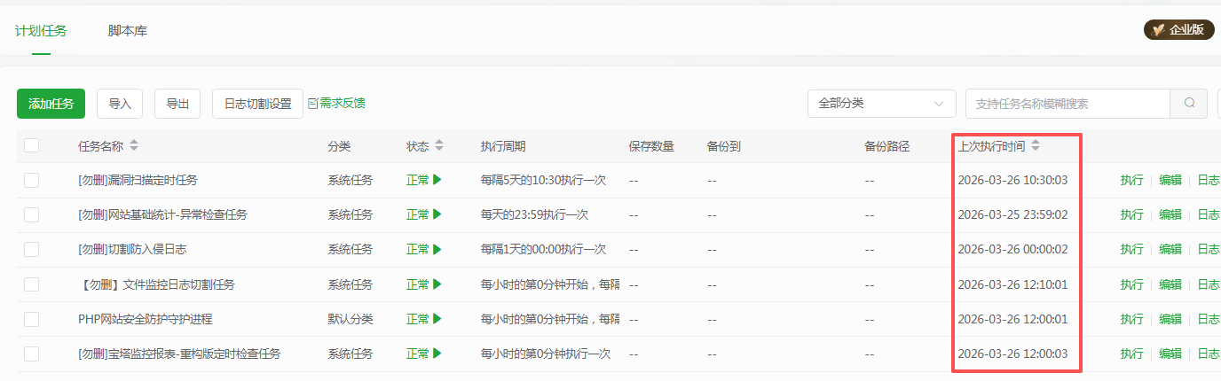
老师,下面这个截图又有一项是自动执行成功了

68.png
使用道具 举报 回复 支持 反对
发表于 6 小时前 | 显示全部楼层
我是企业版用户,使用过一键修改功能,是不是把相关文件权限修改了?
使用道具 举报 回复 支持 反对
您需要登录后才可以回帖 登录 | 立即注册

本版积分规则

紧急运维服务

响应时间:3分钟

问题处理方式:宝塔专家1对1服务

工作时间:工作日:9:00 - 18:30

宝塔专业团队为您解决服务器疑难问题

点击联系技术分析

工作时间:09:00至18:30

快速回复 返回顶部 返回列表