当前位置:论坛首页 > Linux面板 > 求助

【已回应】请教一下 如何设置某个范围端口放行

发表在 Linux面板2018-8-6 23:13 [复制链接] 2 1493

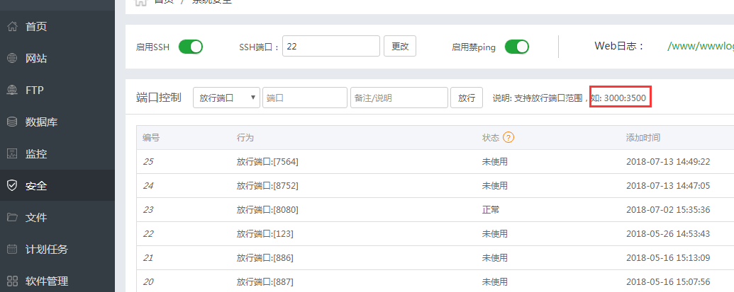
请教一下 如何设置某个范围端口放行
比如放行1881至2881端口


我要设置1000个吗
使用道具 举报 只看该作者 回复
发表于 2018-8-7 10:47:18 | 显示全部楼层
QQ图片20180807104550.png
使用道具 举报 回复 支持 反对
发表于 2018-8-7 14:25:22 | 显示全部楼层
我知道原因了,因为我放行过1881。所以1881:2881是不行的。
要1882:2881
使用道具 举报 回复 支持 反对
您需要登录后才可以回帖 登录 | 立即注册

本版积分规则

普通问题处理

论坛响应时间:72小时

问题处理方式:排队(仅解答)

工作时间:白班:9:00 - 18:00

紧急运维服务

响应时间:3分钟

问题处理方式:宝塔专家1对1服务

工作时间:工作日:9:00 - 18:30

宝塔专业团队为您解决服务器疑难问题

点击联系技术分析

工作时间:09:00至18:30

快速回复 返回顶部 返回列表