5.1提前放价,3年企业版2399元,立省600元!查看活动
当前位置:论坛首页 > Linux面板 > 求助

【已回应】https 突然无法访问

发表在 Linux面板2020-2-13 15:56 [复制链接] 9 2902

网站配置了阿里云后台申请的ssl在网站搬了服务器之后,https断断续续的出现不能访问的问题,http到是能正常访问,部署成功,443端口放行的。求大婶们帮帮忙啊!
使用道具 举报 只看该作者 回复
发表于 2020-2-13 16:50:26 | 显示全部楼层
你倒是发下域名啊。。不知道域名也没办法看问题 和回复你啊
使用道具 举报 回复 支持 反对
发表于 2020-2-13 16:51:40 | 显示全部楼层
chenmo.com.cn
使用道具 举报 回复 支持 反对
发表于 2020-2-13 16:52:32 | 显示全部楼层
阿里云腾讯2折起 发表于 2020-2-13 16:50
你倒是发下域名啊。。不知道域名也没办法看问题 和回复你啊

chenmo.com.cn
使用道具 举报 回复 支持 反对
发表于 2020-2-13 16:55:24 | 显示全部楼层
为保证网站继访问,我没有开启强制ssl 但是部署了的。现在用https访问是直接提示错误的
使用道具 举报 回复 支持 反对
发表于 2020-2-13 17:41:41 | 显示全部楼层
宝塔用户_oalbug 发表于 2020-2-13 16:55
为保证网站继访问,我没有开启强制ssl 但是部署了的。现在用https访问是直接提示错误的 ...

解析.png
查看不到你的解析记录
使用道具 举报 回复 支持 反对
发表于 2020-2-13 18:35:53 | 显示全部楼层
大炮运维V587 发表于 2020-2-13 17:41
查看不到你的解析记录

我开了禁止ping  但是http能访问  https就不行呢
使用道具 举报 回复 支持 反对
发表于 2020-2-13 18:58:21 | 显示全部楼层
02-13 18:50 又能用https访问了。 目前已经是多次这样一下子能访问 然后过段时间又不行了!
使用道具 举报 回复 支持 反对
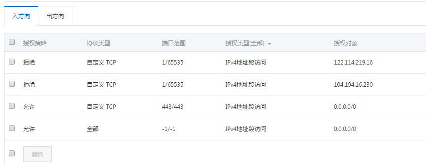
发表于 2020-2-13 20:43:22 | 显示全部楼层
晚上8点又不能访问了。 443.png 4431.png 4432.png
使用道具 举报 回复 支持 反对
发表于 2020-2-14 19:42:55 | 显示全部楼层
没人知道怎么办吗?阿里云那边也是搞了一天了都不知道为什么
使用道具 举报 回复 支持 反对
您需要登录后才可以回帖 登录 | 立即注册

本版积分规则

紧急运维服务

响应时间:3分钟

问题处理方式:宝塔专家1对1服务

工作时间:工作日:9:00 - 18:30

宝塔专业团队为您解决服务器疑难问题

点击联系技术分析

工作时间:09:00至18:30

快速回复 返回顶部 返回列表