当前位置:论坛首页 > Linux面板 > 求助

【已回应】之前老版本的防火墙有个其他过滤器相应内容

发表在 Linux面板2020-4-25 13:58 [复制链接] 2 1299

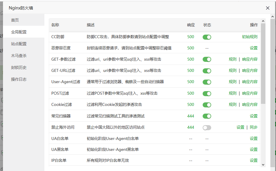
之前老版本的防火墙最底部有个其他过滤器相应内容,更新到最新版本的防火墙怎么没有这个设置了呀
使用道具 举报 只看该作者 回复
发表于 2020-4-25 14:13:33 | 显示全部楼层
过滤设置.png
您好,看下这个高级设置是不是您要找的
使用道具 举报 回复 支持 反对
发表于 2020-4-25 19:34:37 | 显示全部楼层
大炮运维V587 发表于 2020-4-25 14:13
您好,看下这个高级设置是不是您要找的

没有这个高级选项呀
使用道具 举报 回复 支持 反对
您需要登录后才可以回帖 登录 | 立即注册

本版积分规则

紧急运维服务

响应时间:3分钟

问题处理方式:宝塔专家1对1服务

工作时间:工作日:9:00 - 18:30

宝塔专业团队为您解决服务器疑难问题

点击联系技术分析

工作时间:09:00至18:30

快速回复 返回顶部 返回列表