当前位置:论坛首页 > Linux面板 > 求助

【已解答】经常突然出现负载100%,CPU100%然后降不下去

发表在 Linux面板2020-11-23 22:41 [复制链接] 4 1901

我的宝塔服务器里就装了微擎网站系统,最近两个月已经有3次半夜空然网站打不开的情况。进服务器一看,是负载100%,CPU100%,要重启服务器才行。大概会是什么原因呢?

因为看到Nginx防火墙建议Nginx版本要1.18以上,我上星期就把Nginx1.12升到Nginx1.18版。

现在又间隔几天出现了两次负载100%,CPU100%的情况了,不过网站还可以访问使用。

硬盘空间使用量从36G升到46G了。
负载100.png

top1123.png
使用道具 举报 只看该作者 回复
发表于 2020-11-23 22:48:12 | 显示全部楼层
每隔1分钟        /usr/local/qcloud/stargate/admin/start.sh        未知任务

在“宝塔任务管理器”的计划任务里看到这个,请问这个是什么用的?

直接打开计划任务是看不到这个任务的
使用道具 举报 回复 支持 反对
发表于 2020-11-24 09:43:48 | 显示全部楼层
腾讯云的服务器购买的时候如果不勾掉的话,会默认安装一些入侵检测和漏洞监测等安全防护服务
如果不想使用可以进行卸载,官方提供了脚本
直接在腾讯云服务器上运行以下代码即可

/usr/local/qcloud/stargate/admin/uninstall.sh
/usr/local/qcloud/YunJing/uninst.sh
/usr/local/qcloud/monitor/barad/admin/uninstall.sh

同时你需要优化一下你的php和mysql,再检查是否有cc攻击、爬虫等
使用道具 举报 回复 支持 反对
发表于 2020-11-24 10:32:25 | 显示全部楼层
赤井秀一 发表于 2020-11-24 09:43
腾讯云的服务器购买的时候如果不勾掉的话,会默认安装一些入侵检测和漏洞监测等安全防护服务
如果不想使用 ...

喔,知道了,非常谢谢!!
使用道具 举报 回复 支持 反对
发表于 2020-11-24 10:47:16 | 显示全部楼层
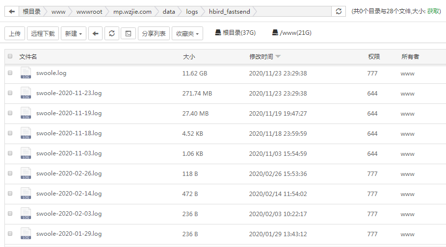
这次负载100%后,发现一个大文件:swoole.log

swoole.png




打出这几天的日志,如:swoole-2020-11-24.log,里面都重复这一句话,会是这个问题导至的吗?

[2020-11-24 10:27:03] mega.WARNING: Swoole\Buffer::__construct(): Class Swoole\Buffer is deprecated, it will be removed in v4.5.0 [] []


swoole02.png
使用道具 举报 回复 支持 反对
您需要登录后才可以回帖 登录 | 立即注册

本版积分规则

普通问题处理

论坛响应时间:72小时

问题处理方式:排队(仅解答)

工作时间:白班:9:00 - 18:00

紧急运维服务

响应时间:3分钟

问题处理方式:宝塔专家1对1服务

工作时间:工作日:9:00 - 18:30

宝塔专业团队为您解决服务器疑难问题

点击联系技术分析

工作时间:09:00至18:30

快速回复 返回顶部 返回列表