宝塔10周年开年大促,年度钜惠,先领红包再下单,享受折上折,还有抽奖!查看活动
当前位置:论坛首页 > Linux面板 > 求助

【已解决】Apache防火墙的原因,导致百度抓取异常,1万...

发表在 Linux面板2021-7-2 09:26 [复制链接] 4 3542

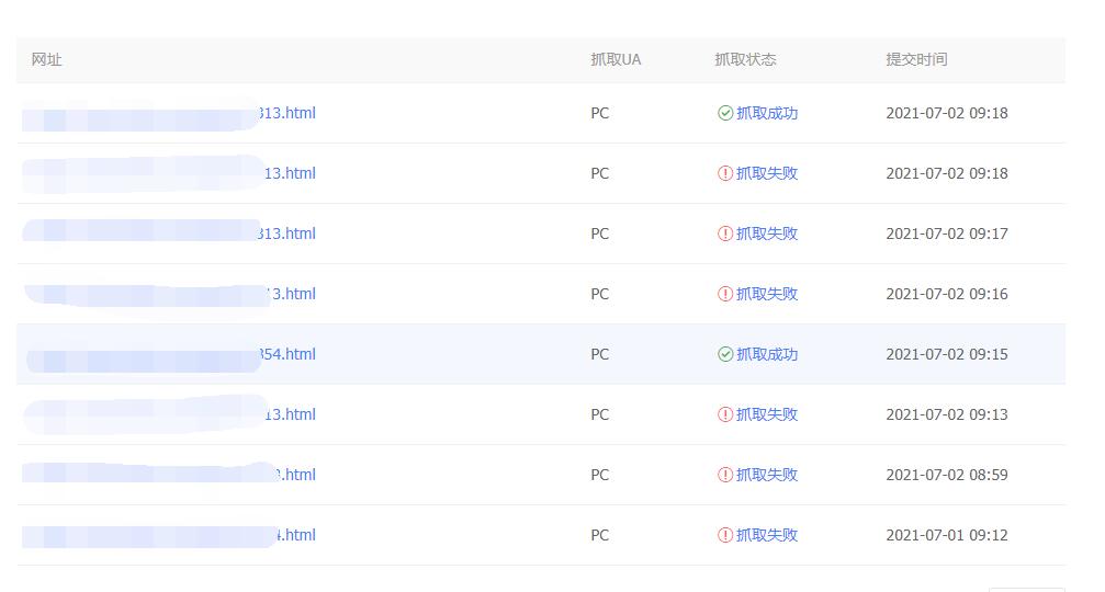
一开始我以为是网站问题,最后发现是宝塔的防火墙问题,只要关闭了就可以正常抓取,这真的是郁闷,1万多收录全没了..... 浏览量IP聚降,权2直接0了 ,欲哭无泪!
之前一直开着也没出现这个问题,是最近更新的问题吗?


在防火墙哪里需要设置?毕竟购买专业版就是有防火墙功能....取消不用也浪费!

QQ截图20210702092731111111114.jpg
使用道具 举报 只看该作者 回复
发表于 2021-7-2 09:41:00 | 显示全部楼层
本帖最后由 leaf 于 2021-7-2 09:54 编辑

这个要怎么设置?
使用道具 举报 回复 支持 反对
发表于 2021-7-2 09:49:43 | 显示全部楼层
因为防火墙全局设置里面,能关掉的选项都没用,找不出是哪里有问题,只有整个防火墙关掉才正常。
使用道具 举报 回复 支持 反对
发表于 2021-7-2 09:55:00 | 显示全部楼层
leaf 发表于 2021-7-2 09:49
因为防火墙全局设置里面,能关掉的选项都没用,找不出是哪里有问题,只有整个防火墙关掉才正常。 ...

您好,您那边添加一下QQ:1249648969,记得备注来意。
使用道具 举报 回复 支持 反对
发表于 2021-7-2 14:16:11 | 显示全部楼层
排查如下:
1.修改错了百度蜘蛛的配置文件
2.已经优化对配置文件错误的情况下的处理了。
使用道具 举报 回复 支持 反对
您需要登录后才可以回帖 登录 | 立即注册

本版积分规则

紧急运维服务

响应时间:3分钟

问题处理方式:宝塔专家1对1服务

工作时间:工作日:9:00 - 18:30

宝塔专业团队为您解决服务器疑难问题

点击联系技术分析

工作时间:09:00至18:30

快速回复 返回顶部 返回列表