当前位置:论坛首页 > Linux面板 > 求助

【已解决】Nginx防火墙有问题

发表在 Linux面板2021-8-12 19:59 [复制链接] 5 1991

点击封锁历史一直在转圈加载不出来而且会导致面板也进不去 IMG_20210812_195158.jpg
使用道具 举报 只看该作者 回复
发表于 2021-8-12 20:05:00 | 显示全部楼层
只能重启后才能进面板,但再打开防火墙那个封锁历史还是会出现这样
使用道具 举报 回复 支持 反对
发表于 2021-8-12 20:08:19 | 显示全部楼层
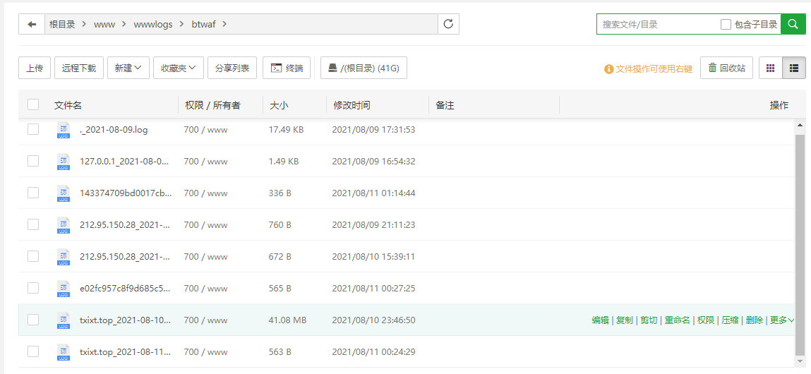
您好,防火墙的日志/www/wwwlogs/btwaf 这个目录看一下,是否日志文件过大,截图出来看看
使用道具 举报 回复 支持 反对
发表于 2021-8-12 20:36:03 | 显示全部楼层
运维阿宏 发表于 2021-8-12 20:08
您好,防火墙的日志/www/wwwlogs/btwaf 这个目录看一下,是否日志文件过大,截图出来看看 ...

QQ图片20210812203518.png
使用道具 举报 回复 支持 反对
发表于 2021-8-12 23:26:53 | 显示全部楼层
运维阿宏 发表于 2021-8-12 20:08
您好,防火墙的日志/www/wwwlogs/btwaf 这个目录看一下,是否日志文件过大,截图出来看看 ...

我全删除了 但还是加载不出来
使用道具 举报 回复 支持 反对
发表于 2021-8-13 02:12:21 | 显示全部楼层
运维阿宏 发表于 2021-8-12 20:08
您好,防火墙的日志/www/wwwlogs/btwaf 这个目录看一下,是否日志文件过大,截图出来看看 ...

可以打开了
使用道具 举报 回复 支持 反对
您需要登录后才可以回帖 登录 | 立即注册

本版积分规则

普通问题处理

论坛响应时间:72小时

问题处理方式:排队(仅解答)

工作时间:白班:9:00 - 18:00

紧急运维服务

响应时间:3分钟

问题处理方式:宝塔专家1对1服务

工作时间:工作日:9:00 - 18:30

宝塔专业团队为您解决服务器疑难问题

点击联系技术分析

工作时间:09:00至18:30

快速回复 返回顶部 返回列表