宝塔双11特惠活动,企业版2299元/3年,SSL证书低至9.9元!查看活动
当前位置:论坛首页 > Linux面板 > 求助

【已解答】新买的腾讯服务器 443端口一直无法打开

发表在 Linux面板2021-12-2 15:24 [复制链接] 1 1455

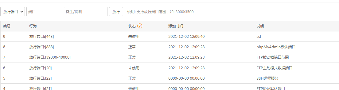
新服务器,443端口一直显示未使用,服务器那边和宝塔都已经放行了,腾讯客服也说了几条命令 都执行了也没办法,让我问下宝塔技术人员

微信图片_20211202140024.jpg

捕获.PNG 捕获2.PNG


请帮忙看看
使用道具 举报 只看该作者 回复
发表于 2021-12-2 15:35:30 | 显示全部楼层
这个是你服务器无法访问到CA机构申请接口,如果还是不行,可以直接在腾讯申请免费证书使用
使用道具 举报 回复 支持 反对
您需要登录后才可以回帖 登录 | 立即注册

本版积分规则

普通问题处理

论坛响应时间:72小时

问题处理方式:排队(仅解答)

工作时间:白班:9:00 - 18:00

紧急运维服务

响应时间:3分钟

问题处理方式:宝塔专家1对1服务

工作时间:工作日:9:00 - 18:30

宝塔专业团队为您解决服务器疑难问题

点击联系技术免费分析

工作时间:09:00至18:30

快速回复 返回顶部 返回列表