当前位置:论坛首页 > Linux面板 > 求助

【待反馈】企业级备份无法恢复

发表在 Linux面板2022-4-2 12:33 [复制链接] 4 6189

微信截图_20220402123308.png
使用道具 举报 只看该作者 回复
发表于 2022-4-2 12:36:03 | 显示全部楼层
有没有来解决下
使用道具 举报 回复 支持 反对
发表于 2022-4-2 14:29:17 | 显示全部楼层
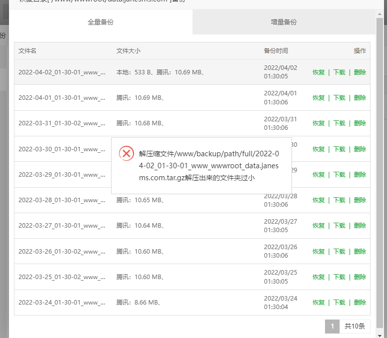
造成533b的原因尚不清楚,先从腾讯那边下载10.69mb的文件下来恢复吧
使用道具 举报 回复 支持 反对
发表于 2022-10-2 11:24:05 | 显示全部楼层
我也一样 欲哭无泪无法恢复 所以才来找论坛解答
使用道具 举报 回复 支持 反对
发表于 2022-10-9 10:26:33 | 显示全部楼层
weiwlgs 发表于 2022-10-2 11:24
我也一样 欲哭无泪无法恢复 所以才来找论坛解答

您好!请问您这边是否解决问题了吗?尝试直接下载手动恢复是否可以?
使用道具 举报 回复 支持 反对
您需要登录后才可以回帖 登录 | 立即注册

本版积分规则

普通问题处理

论坛响应时间:72小时

问题处理方式:排队(仅解答)

工作时间:白班:9:00 - 18:00

紧急运维服务

响应时间:3分钟

问题处理方式:宝塔专家1对1服务

工作时间:工作日:9:00 - 18:30

宝塔专业团队为您解决服务器疑难问题

点击联系技术免费分析

工作时间:09:00至18:30

快速回复 返回顶部 返回列表